
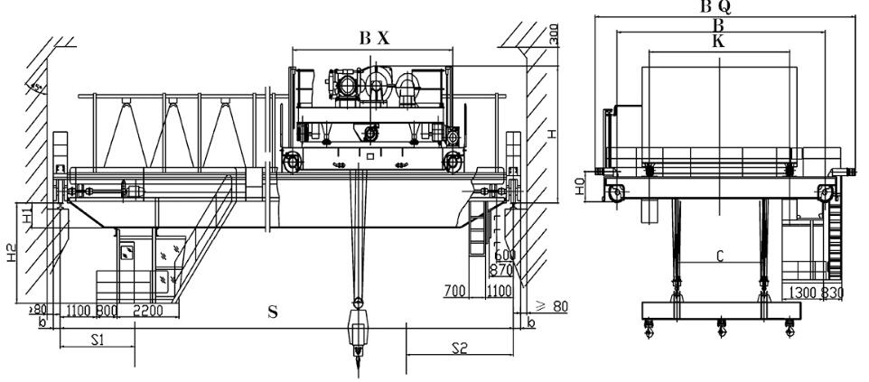
本起重机带有可旋转挂梁,适用于钢厂、堆场和仓储等室内或露天的固定跨间,装卸及搬运钢板、型钢、盘卷等物料。特别适用于吊运不同规格且需水平旋转的场合。挂梁下可以携带电磁吸盘、夹钳等专用吊具。
The crane has slewing carrier-beam;is applicable to the fixed span at indoors or outdoors of stee1mil1.yard and storage,etc.It is used for loading,unloading and carrying stee1 plate,profile steel,and spool,etc.It is especially applicable to lift materia1 of different peifications and which needs horizontal rotation.The lower part of the carriler—beam can bring special lifting appliances,such as magnetic chuck and tongs,etc.
注:
1、进入司机室的走台方式分为:端入、侧入、顶入。
2、起重量包含挂梁及专用吊具自重;
3、挂梁大旋转角度可按用户要求;
4、以上所有数据为室内使用时;
5、参数表中起重机总功率为行车本体功率,不含专用吊具功率。
Note:
1.The modes entering cab:form the end:form the side;form the top。
2.The lifting weight includes deadweight of the carrier—beam and special lifting applicnces;
3.The max.rotating angle of the carrier—beam can be made as the user asks;
4.All above-mentioned data is for being used indoors;
5. The total power of the crane in the parameter list is the power of the travelling crane,but excludes
the power ofspecial lifting appliances.

